Wednesday, October 22, 2014
Amazing New WDI Patent Discovered
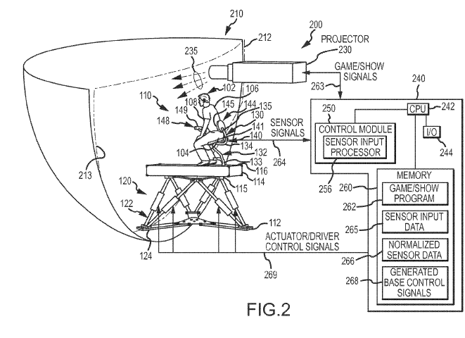
An interesting news about a news patent. Here is a description from our friends at Screamscape: "ParkJourney has discovered an interesting new Disney attraction patent that could really make your ride experience much more interactive. In essence it seems to describe an interactive seat for riders, that can tell if you are leaning from side to side, forward or backward, and use your own body motion to interact either with a ride experience on an interactive screen or to make a real word ride vehicle react in different ways. Imagine a powered ride that might lean over if you lean, or speed up if you lean forward, much like riding a motorcycle. Or if the seat is mounted to a motion base, your body movements in your seat could affect the reaction of your motion platform… lean left to avoid hitting the rocks and you cruise by… fail to lean enough or in time and your craft could bump and rumble as you bump into the rocks."
Will it be used for the SDL TRON ride or an Avatar ride? Or a Rebel Alliance flight simulator? Or a new version of Luigi's flying tires? Jump to ParkJpurney HERE to learn more.
Pictures: copyright Disney Enterprises
Subscribe to:
Post Comments (Atom)
No comments:
Post a Comment