Monday, January 11, 2016

Disney Asks FAA Permission to Fly Drones During Fireworks in U.S Theme Parks

In a previous article posted August 2014, i was telling you all about an "Amazing New WDI Patents Shows Quadcopter Drones Used For Flying Screens... or Puppet Masters". Now, Market watch discovered that the Walt Disney Company "has taken the next step in integrating drones into its fireworks shows at Disneyland and Walt Disney World: it has applied to the Federal Aviation Administration for what’s called a Section 333 exemption, which allows a company to legally operate drones commercially. Currently, it is illegal to operate a drone for commercial purposes, though that’s expected to change in 2016.

The drones would fly preprogrammed flight paths and emit LED lights at various intervals, lighting up the sky. Up to 50 drones at one time might be used for nightly firework shows, according to details included in the Section 333 exemption request. But no need to worry about a drone crashing down and ruining your vacation -- Disney also said in the paperwork filed with the FAA that these drones will only fly in the theme park’s 
“pyrotechnic clear zone,” meaning areas that are inaccessible to visitors."

As we know the big advantage of the new drones is that they're light, and the main problem with them is ...the same. As they're light, if the wind changes, they can easily become uncontrollable and if one was crashing and injuring guests it could potentially cost Disney a fortune if the guests sue the company. That's probably why and although the patent which was filed describes the use of drones also for parades we should see them flying only in areas which are not over guests.

And in another article the Orlando Sentinel adds "The form includes some of Disney's safety precautions and planned operations for the drones, including a restriction as to where it would not fly the crafts, including not within 100 feet of guest areas at all times. "Their flight paths will largely take place over water elements and restricted areas," it reads. The Flixels would max out at 150 feet above ground level, according to the application. They would be used for park entertainment productions, including fireworks."

I'm not surprised that Disney is trying to introduce the use of drones in their shows as there are great things to do with them. For instance, have a look at this video showing the 25th Anniversary let's Dream night parade designed by the Goddard Group for South Korea Lotte World theme park, in which they use plenty of drones - it starts at 12.00 min - but it's inside a mostly indoor or covered area which of course make things easier.




And now i repost below the August 2014 D&M article explaining in details and patent renderings the new patent which was filed by Disney Enterprises:


Thanks to Market Watch, the blog of The Wall Street Journal we've learned that Disney Enterprises - WDI - filed three new amazing patents on August 21, just four days ago, and all patents -  applied for by Clifford Wong, James Alexander Stark and Robert Scott
Trowbridge - involve the use of quadcopter drones (UAVs). And these are not the kind of drones firing missiles or spying you, thanks God, as they will be used to deliver more amazement to the guests in Disney parks entertainment productions.

The first two patents cover different methods of producing light shows, either with large, flexible screens lifted by small remote-controlled craft or swarms of drones that are each fitted with a light and act as "flixels" or floating pixels. In one, the screens could be large projection surfaces made of mesh that would allow wind to pass through, or they could actually produce their own images: Disney's application suggests loosely woven strips of LEDs. And thanks to a ground control station they could choreograph repeatable movements.

The first patent called "Optical: systems and elements projection screen moving during projection"  is described as "a system for presenting an aerial display over an audience of spectators. The system includes a plurality of unmanned aerial vehicles (UAVs) and a plurality of flexible projection screens. Each of the screens is supportable in a display air space by the UAVs. The system includes a ground control system with a processor executing a fleet manager module and with memory storing a different flight plan for each of the UAVs. During operation during a display time period, the UAVs execute the flight plans to move and to position the flexible projection screens within the display air space. The flexible projection screens each may include a mesh body configured to have low wind resistance and to provide a projection surface for reflecting light. The system may include a projector projecting light onto the projection surface of at least one of the flexible projection screens during the display time period."

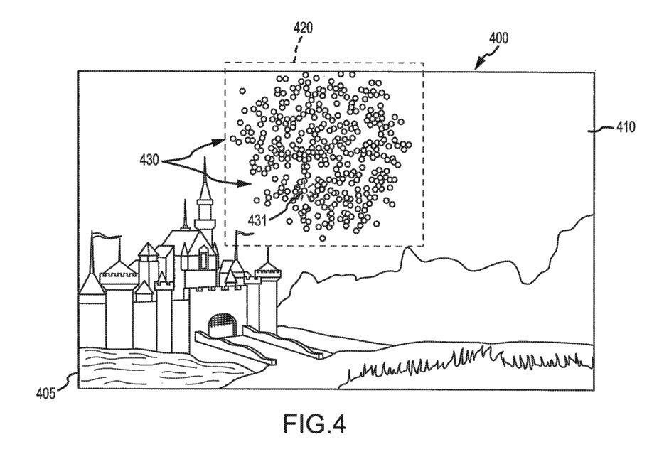
FIG. 4 illustrates an exemplary aerial display system of the present description during use to provide an aerial light show with a number of UAVs supporting a flexible projection screen or scrim within a display air space;

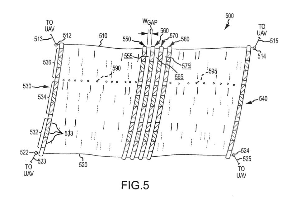
FIG. 5 is a partial view of a flexible projection screen configured as a emissive display that may be positioned with UAVs in a display air space


The drones would be able to detect each other and work in concert, according to a central program. In two of the images, they're even carrying huge ribbons around a Disney castle!
FIGS. 6A and 6B show an aerial display system of one embodiment at two operating states (or operating at two sequential points in time during an aerial light show or display) showing use of UAVs to move and position flexible projection screens/scrims.



The next patent is described as "a system for performing an aerial display. The system includes a plurality of UAVs each including a propulsion device and a display payload, and the system includes a ground station system with a processor executing a fleet manager module and memory storing a different flight plan and a set of display controls for the UAVs. Then, wherein, during a display time period, the UAVs concurrently execute the flight plans through operation of the propulsion devices and operate the display payloads based on the display controls. The display payloads each include a lighting assembly and a light controller. The output light is one of a two or more colored light streams, and each of the display payloads further may include a light diffuser with the output light being directed onto a surface of the light diffuser. The light diffuser may include a light diffusing screen extending about the lighting assembly."

Here, the patent indicates that drones could even potentially replace fireworks, which can be dangerous and inconsistent. Instead, the patent calls for an aerial display system based on the floating pixel, or “flixel.” Each drone would carry a lighting assembly that could display images or colors, making use of the sky as a screen. The other option would see the drones carrying lights that would change color as needed, letting an operator program them to make pictures or abstract displays that look like fireworks.




FIGS. 4 and 5 illustrate an exemplary aerial display system of the present description during use to provide an aerial light show with numerous flixels (flying pixels assemblies)






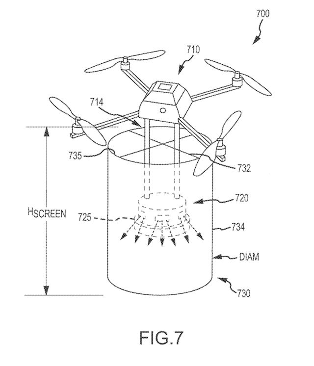
FIG. 7 is a perspective view of an exemplary flixel or flying pixel assembly including a multicopter with a display payload providing a lighting assembly and display screen in the form of a light diffusion cylinder



The two first patents looks already great tech but this third one will amaze you as it indicates a use even more amazing of drones that could be used to hold giant puppets during parks entertainment. With the drones, these larger-than-life puppets could be mounted with rods to fly through the air!

Here is its description: "a system for performing an aerial display. The system includes a plurality of unmanned aerial vehicles (UAVs) and a ground control system with a processor executing a fleet manager module and with memory storing a different flight plan for each of the UAVs. The system further includes a marionette with a body and articulatable appendages attached to the body. The body and appendages are supported with tether lines extending between the marionette and the UAVs. Then, during a display time period, the UAVs concurrently execute the flight plans to position and articulate the marionette within a display air space. In some embodiments, the UAVs each is a multicopter, and each of the multicopters includes a local controller operating to move the multicopter through a series of way points defined by the flight plan associated with the multicopter."




FIG. 4 illustrates an exemplary aerial display system during operation to support and articulate an aerial marionette within a display air space

FIG. 5 illustrates another aerial display system showing UAVs manipulating and supporting an aerial marionette via puppet frame elements in the arms and torso of the marionette





“This is a significant improvement over prior flying characters, which typically were provided in the form of parade or other blimps/balloons filled with hot air or other gases and that had little and/or awkward articulation of any movable parts,” according to the patent.



FIG. 7 illustrates an embodiment of an aerial display system in which each "marionette" is supported and articulated by one or more UAVs is configured to be combined with a one-to-many other "marionettes" to form a larger marionette/display assembly, which can then be further moved about the display air space and/or articulated by the UAVs

All what shows these patents looks indeed technologically amazing and if it can really works in reality it surely will stun Disney theme parks guests. But - and it's a big "but" - the use of these flying quadcopter drones as great as they can be might become a problem when there would be a wind strong enough to destabilize them... And, as Disney points out, the quadcopters could be more flexible than ordinary displays but safer and more predictable than fireworks... as long as they're able to minimize the risk of one accidentally falling out of the sky.

So, what do you think of these mazing new WDI patents?

Editing: Forbes Magazine has posted an article written by a drones specialist called "Four Things You Need To Know About Disney's Drones" and i think you should have a read of it HERE.

Pictures: copyright Disney Enterprises

1 comment:

Anonymous said...

Wow fantastic, thank you for always talking about a lot of different things, I always learn something new here :-D - France